物远科技
项目咨询
首页 成品系统超市 数据采集系统定制 智能图像识别系统 视频分析与监控平台 物联网系统开发 企业AI助手接入 资讯动态 立即咨询
视频分析与监控平台

智能视频分析 异常行为自动识别与实时告警

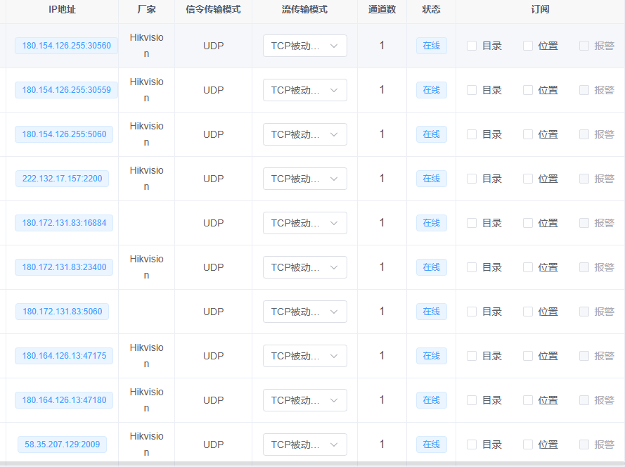
支持多品牌设备接入,统一平台集中管理与监控

企业级部署 定制化交付 持续运维支持
服务概览
围绕系统建设、上线实施与后续运维,提供完整的交付支持。
交付模式 私有化部署 / 定制开发
适用场景 企业管理 / 数据采集 / 智能分析
服务支持 上线实施 / 培训交付 / 持续运维
软件能力模块
围绕企业客户的实际使用流程组织功能,强调管理效率、接入能力和可扩展性。
高精度识别 模块
融合深度学习算法,提供图像识别准确率,确保对物体、场景和人脸的精确辨识。
实时视频分析 模块
支持实时流处理,毫秒级响应,即时反馈异常事件与分析结果。
多场景智能检测 模块
覆盖越界、区域入侵、人员聚集、滞留、逆行等数十种安防场景。
人脸识别与比对 模块
支持人脸抓拍、属性分析与黑名单实时告警,提升安防等级。
行为智能分析 模块
自动识别跌倒、打架、奔跑、吸烟等异常行为,主动预警风险。
统一平台管理 模块
集中管理多路视频,实现设备、用户、权限一体化管控。
边缘计算能力 模块
支持前端摄像头智能分析,降低带宽占用,提升响应速度。
云端协同架构 模块
支持云边端协同部署,灵活适配本地、私有云与公有云环境。
多级告警机制 模块
支持声光、弹窗、短信、邮件、APP推送等多方式告警通知。
电子地图集成 模块
支持GIS地图与视频联动,直观展示设备分布与事件位置。
开放API接口 模块
提供标准化RESTful API,便于与OA、安防、消防等系统集成。
可扩展AI模型库 模块
支持自定义训练与模型更新,持续扩展识别能力,适应行业专属场景。
系统界面展示
支持按场景定制页面结构,也支持标准化模块快速落地。
视频分析与监控平台
视频分析与监控平台
视频分析与监控平台
视频分析与监控平台
视频分析与监控平台
跨端播放,云端存储安全可靠可追溯
灵活支持本地部署与云平台接入,适配多种应用场景
立即体验
配套服务能力
围绕项目建设、部署上线与持续迭代,提供完整的软件交付与运维支持。
01
需求分析
梳理业务流程、角色权限与数据结构 形成可实施的功能范围和建设路径
02
实施交付
支持部署实施、环境配置与联调上线 兼容定制化开发与阶段性交付模式
03
运维迭代
提供使用培训、问题处理与版本升级 保障系统稳定运行与长期演进能力
从算法到部署,提供可交付的软件与边缘智能方案
适配中国企业级项目节奏,支持方案咨询、原型验证、私有化部署与持续运维。
预约方案沟通
联系顾问 ×
扫码添加微信,获取产品资料、项目方案和报价建议。
wechat-qr
微信:156156520
QQ:156156520